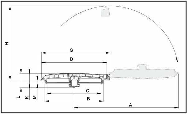
ARAG Felhajtható Tartályfedelek 356 0....

- Fedél nyitási szög180 °
- Levegő szelepes verzió a lejtős
területekhez.
- Zárható szelepes változat.
- A rendelkezésre álló oldalsó rögzítő és sima felületekhez.
- Standard fedél tömítés.
- Ring tömítés megfelelően külön kell megrendelni.
- A bajonett blokkoló rendszer hat pontot tökéletes
zárható.
- 180 ° forgalma a stressz megelőzésére fedél és a tartály.
- Lehetőségként ,beöntőszűrő csazlakozás.

Márka: ARAG

Termék kód: ARAG 356 0...

756.jpg757.jpg755.jpg762.jpg
pageup